logo autocosmos Vendé tu auto

Vení al TC en el Mouras

Participá ya
Novedades

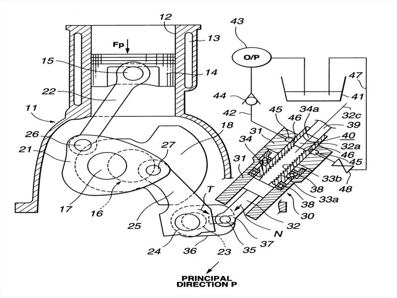
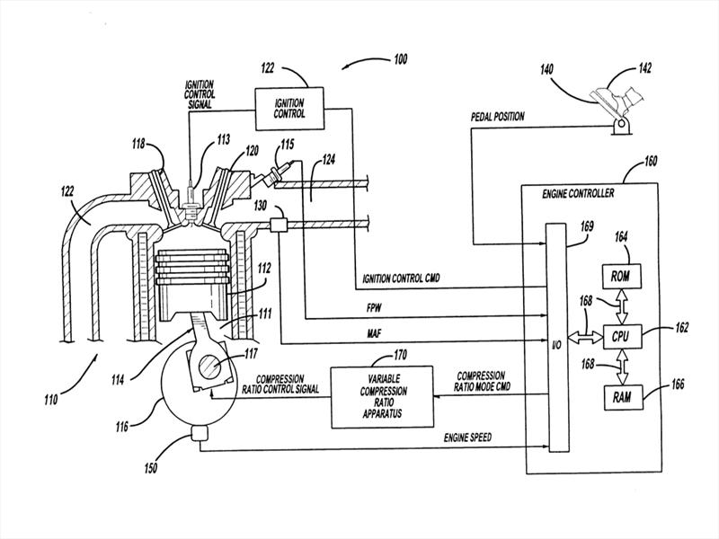
Top 10: Tecnologías que mejoran el consumo de combustible

Conocé los desarrollos técnicos que posibilitan un mejor aprovechamiento del combustible.

Top 10: Tecnologías que mejoran el consumo de combustible

En los tiempos actuales, más que una necesidad es un verdadero imperativo el buen uso de los recursos. Con eso no sólo nos referimos al cuidado, protección y renovación de los recursos naturales; sino que además, a los siempre escasos recursos financieros para enfrentar la manutención, reparación y consumo de combustible de nuestros automóviles. Es aquí donde queremos poner el énfasis en el Top 10 de esta semana, donde más allá del uso de nuevos metales, materiales y diseños aerodinámicos de carrocerías -una constante en la historia del automóvil- queremos repasar qué nuevas tecnologías y dispositivos nos está ofreciendo la industria para aumentar el rendimiento del combustible.

Hacé click sobre la imagen para ver la galería de cada una.

 

 

 

 

Alejandro Marimán Ibarra recomienda